Proverbes et maximes

La peur est la plus terrible des passions parce qu'elle fait ses premiers effets contre la raison : elle paralyse le coeur et l'esprit.  

Antoine de Rivarol

Né le 26 juin 1753 à Bagnols sur Cèze, il est décédé le 11 avril 1801 à Berlin c'est un écrivain, journaliste, pamphlétaire royaliste..

Les Pétaros des Volcans sont sur Facebook

Pour découvrir plus d'infos proposées par les Pétaros via Facebook,

Création de la page : 2017

 

 

 Mise à jour de la page : 14-05-2023

Modif ; GIMA  

Les constructeurs Auvergnats

Carte région Auvergne Découvrez la Région Auvergne

 

 ALMA    

Un clic sur le nom,

 

pour obtenir des informations sur le

constructeur auvergnat sélectionné.

 

 

 
AMC
 
FAVOR
 
GIMA
 
GUILLAUMONT
 
HUIN

 

*** ALMA

 

*** AMC

Un peu d'histoire

 

C'est en 1920 que les frères Louis et Henri Chartoire fondent une modeste société pour la fabrication des paillons (enveloppe de paille) de bouteilles. La main-d'oeuvre, la matière première (la paille) et le débouché (les sources d'eau minérale abondent dans cette région volcanique) étaient sur place. Le marché du paillon était à prendre. L'usine située au cœur des vignes se développa. Elle produit bientôt 100.000 paillons par jour.

En 1931, l'entreprise devient société anonyme et groupe quatre usines à Clermont, Estivareilles, Usson-en-Forez et Le Vauriat.

Puis en 1932, pressentant la concurrence des produits nouveaux l'entreprise se consacre à la production de pièces mécaniques.

 

 

https://www.moto-collection.org/blog/amc-250-1952-56-lespoir-decu/

 

 

De notre correspondant.

Spécialisés dans les pièces pour l'automobile, le machinisme agricole, les poids lourds et les travaux publics, les Ateliers Mécaniques du Centre (Clermont-Ferrand), étaient cités depuis quelques années comme l'exemple de la sous-traitance qui a su se moderniser.
Ils sont contraints aujourd'hui de déposer leur bilan.

Deux facteurs se sont conjugués pour mettre en péril cette entreprise de 412 personnes et de 226 millions de francs de chiffre d'affaires l'année dernière : un gros programme d'investissement dans de nouveaux locaux en zone industrielle de Ladoux et l'effondrement du marché.
La crise du Golfe aurait eu pour effet une baisse de 30% des cadences, selon Gilbert Chartoire, le pdg. La-dessus, la chute du dollar n'a rien arrangé.
Des mesures draconiennes ont été prises depuis plusieurs mois : chômage partiel, départs FNE, blocage des salaires. Elles n'auront pas suffi. Le personnel qui avait consenti un gros effort, a décidé d'occuper l'usine dès l'annonce et un administrateur judiciaire doit être désigné par le tribunal de Commerce de Clermont-Ferrand pour imaginer un plan de relance et trouver un repreneur. Car l'affaire ne manque pas d'intérêt. Son savoir-faire est reconnu : ses moteurs de motos ont été six fois champions du Monde dans les années 50.
Depuis deux ans, les AMC produisent des boîtiers-papillons destinés aux moteurs à injection, sous leur propre marque. Aujourd'hui ils exportent près d'un quart de leur production vers l'Europe, l'Amérique du Nord et l'Afrique du Nord.

Le parc comprend 330 machines-outils dont 90 à commandes numériques. Une politique rigoureuse de qualité totale a permis aux AMC de travailler régulièrement pour les grands constructeurs automobiles (PSA, Renault, Porsche) ou de génie civil (Caterpillar).
« Compte tenu des contacts déjà pris, nous pensons qu'un repreneur industriel sera rapidement trouvé », explique Gilbert Chartoire. « Il est malheureusement certain que la reprise s'accompagnera de dispositions pénalisantes pour l'ensemble de l'entreprise et notamment pour le personnel ».

Jacques Duplouy



Deux des candidats à la reprise ont déjà pris rendez­vous avec le comité d'entreprise : Thermoz, une société de décolletage lyonnaise, et la Financière de Valois, qui tiendrait la corde dans la course. Un autre repreneur a fait l'objet de rumeurs, Dapta Malinjoud.
Le tribunal de Commerce de la capitale auvergnate a jugé « intéressante une proposition qui émane d'un groupe financier important » extérieur à la région, mais déjà implanté localement dans une branche industrielle voisine des AMC. Et selon la Préfecture, « le ministre de l'Economie, saisi par le Comité interministériel de restructration industrielle, a fait savoir qu'il poursuivait le montage d'une reprise par une entreprise extérieure qualifiée, qui maintiendrait au plus haut niveau l'activité et l'emploi ».
Ces précisions ont convaincu les observateurs sur la position de favori de la Financière de Valois, qui par ailleurs a confirmé sa candidature. En fait, des contacts avaient été pris avant même le dépôt de bilan et la nomination par le tribunal de Jean-François Gladel comme administrateur judiciaire. Gilbert Chartoire, le PDG des AMC (412 personnes et près de 226 millions de francs de chiffre d'affaires), avait affirmé dès le premier jour: « Compte tenu des contacts préalablement pris, un repreneur industriel ayant l'aval de nos clients pourrait être rapidement trouvé ».
Jacques Duplouy

Quatre usines de l'ex-groupe Valfond réunies

Par  - Publié le 

 

Helveticast a procédé début avril à l'acquisition d'Auto-Cast, ces deux entités étant d'anciennes filiales de l'ex groupe Valfond. Helveticast a été créée en novembre 2007 pour la reprise par le fonds suisse Vista Capital Management de la fonderie APM (fonte alu gravitaire) aux Ponts-de-Cé (Maine-et-Loire) et du site d'usinage APM Clermont-Ferrand (Puy-de-Dôme). La première, spécialisée dans la fonte alu gravitaire, est en grosse difficulté ; elle emploie 93 salariés. Le second compte près de 120 personnes avec un carnet de commandes saturé (poids lourds, machinisme agricole, engins de manutention).

 

Lire l'article

 

*** FAVOR

La société Favor qui a été fondée en 1898 par Etienne Guillaume était située au n° 77 de l'avenue de Royat à Chamalières.

 

Elle a commencé par fabriquer des bicyclettes avant de produire des  vélomoteurs puis des cyclomoteurs et des motos.

 

Cette évolution est semblable à celle de beaucoup d'entreprises de ce secteur à cette époque.

 

En 1919, les deux frères d'Etienne, Joseph et René rejoignent l'entreprise.

 

L'activité moto commence en 1921.

 

 

Les moteurs Favor qui équipent les machines de 1921 à 1940 sont produits par les Etablissements Chevillard de Montrouge.

 

En 1930, Eole devient une marque de Favor.

société avec la Manufacture d'Armes et de Cycles de Saint Etienne (Manufrance).

 

Cette dernière ayant à l'époque prévenu par la presse ses clients de la confusion possible. 

La marque Monotube passe sous son contrôle.

 

En 1960, la société vend des cyclomoteurs Benelli.

 

Une nouvelle usine est construite dans la zone industrielle du Brezet à Clermont-Ferrand en 1964.

 

La production des deux roues motorisés s'arrête en 1971, pour se consacrer uniquement aux cycles.

 

En 1973, René Guillaume devient PDG.

 

Les activités cessent en 1977.

 

René Guillaume décéde en 1979.

Une entreprise auvergnate de deux roues qui débute avenue de Royat à Chamalières avant de s'installer ZI du Brezet à Clermont-Ferrand (63)
 

En 1935 Favor rachète les cycles Svelte produits par la Société Manufacturière

d'Armes et Cycles de Saint Etienne.

 

Il ne faut pas confondre cette

 

 

Un accord est passé avec Gima et Rivat Sport en 1955.

 

A cette période Favor absorbe toute la production des moteurs Alter.

 
Voir le site

 

Merci à tous les sites sélectionnés.

  C'est avec plaisir que nous les proposons à nos visiteurs 

 

 

 

***  GIMA

La société GIMA a été créée par Henri Andraud homme

politique, en 1946 à Chamalières dans le Puy de Dôme.

La partie technique était confiée à Paul Josué.

Henri Andraud est décédé trop tôt en 1949, d'une crise cardiaque.

Mr Emmanuelli en fut le PDG de 1949 à 1954.

Le Groupement Industriel  Métallurgique

et Automobile a produit entre 1946 et

1955 des pièces pour les moteurs AMC

puis des motos équipées de ce célèbre

et robuste moteur auvergnat.

 

L'entreprise a produit au n° 24 avenue Pasteur, des motos utilisant les moteurs 4 temps AMC de 108, 125, 175 et 250 cm3 et les moteurs 2 temps YDRAL de 125 et 175 cm3.

Très bonnes routières les Gima ont obtenu de nombreux succès sportifs avec notamment la victoire en 125 cm3 au Bol d'Or 1949 courru à Montlhéry...(En fait, la moto victorieuse au Bol d'Or de 1949 n'a de GIMA que ses décalcomanies. C'est une machine entièrement due à Mathieu, que ce soit pour la préparation du moteur AMC ou pour la partie cycle entièrement personnelle. Elle a été rebaptisée GIMA moyennant l'hospitalité du stand GIMA.)  Le pilote arrivé deuxième, Valeyre, avait une véritable GIMA.

 
Lire la suite sur le remarquable site dédié à GIMA : https://sites.google.com/site/lesmotosgima/

 

Les GIMA ont aussi été fabriquées sous licence en Espagne, par RIEJU, équipées des moteurs 4T (Alezan) produits également sous licence en Espagne par FITA.

 

Ci-dessous :  une Rieju AMC "Alezan" et un modèle "Jaca" avec une partie cycle originale et un moteur AMC 2T type" Isard"

 

Ci-dessous, un article consacré à Paul Josué

 

Henri Andraud

Paul Josué, du papier à la route

 

Quand on consulte un plan de la ville de Clermont-Ferrand on y trouve un hommage de l'Auvergne à ses enfants glorieux. Ont donné leur nom à des voies ; Vercingétorix, Pascal, Lafayette, plus près de nous ; Raymond Bergougnan, Edouard Michelin, Louis Rosier, Patrick Depailler, les frères Chartoire et, entre autres Henri Andraud. Reconnaissons que ce dernier doit sa postérité plus à son action politique qu'à son usine GIMA.

 

Mais il n'y a pas de rue Paul Josué ! Et pourtant, ce personnage mérite à être connu. Cet ingénieur et fin technicien est le "Bouton" d'Henri Andraud, ou pour ceux qui n'auraient pas compris, ce dernier est le "De Dion" de Paul Josué. Voici donc, de la main de son créateur, quelques étapes de gestation de la Gima.

 

Ci-contre, en  bas ; belle réunion d'Auvergnats motocyclistes autour d'une des premières 125 Gima. De gauche  à droite : Henri Andraud, Paul Josué, Henri et Louis Chartoire. Courtoisie Jean-Pierre Raynaud.

 

Andraud et la naissance de Gima

Parlons d'abord de la marque : la légende veut qu'Henri Chartoire présente son ami Paul Josué à son ami Henri Andraud. Né en 1895 à Clermont-Ferrand, Andraud a été élu député du Puy-de-Dôme en 1928 et l'est encore en 1940, après un intermède de sept mois en 1937, comme sous-secrétaire d'état à l'Air (rang de ministre).

Il fonde la société GIMA (Groupement Industriel Métallurgique et Automobile) qui débute son activité le 20 novembre 1940, avec pour objet la fabrication "de toutes pièces métallurgiques et, plus particulièrement celles intéressant l'automobile, l'aviation, le cycle et le motocycle" : vaste programme !

Figurent au conseil d'administration de Gima MM. Henri et Louis Chartoire.

 

Andraud est mobilisé, comme lieutenant-pilote, en 1940, puis organise un réseau de résistance qui lui vaudra d'être décoré de la Légion d'Honneur et de la médaille de la Résistance, à la libération.

Quelle a pu être l'activité réelle de Gima jusqu'en 1945 ?

Assurément très faible.

Notre ami Delorme, grand Gimaphile devant l'éternel, avait trouvé la trace d'un projet de cadre en tôle emboutie, resté sans suite.

 

Josué chez Gima ;  ses premiers dessins

En 1940, Paul Josué n'est pas chez Gima ; ni même en 1945. On sait peu de lui, sinon qu'il est né à Thiers le 6 juillet 1913 et qu'il laissait volontier entendre qu'il était autodidacte, coquetterie, en fait il était ingénieur des Arts et Métiers.

Le 15 mai 1945, une semaine après la capitulation allemande, il travaille déjà sur un projet de moto.

Et voici ci-dessous, la première esquisse de ce qui deviendra la 125 Gima du salon d'octobre 1947.

Le premier dessin connu de Paul Josué, daté du 15 mai 1945. Le dessin du cadre est déjà celui qui sera breveté, mais il se complète d'une belle suspension arrière à bras oscillant.
Esquisse datée du 6 février 1946, toute la partie cycle de la future 125 Gima est déjà définie.

Sur ce dessin, le moteur n'est pas défini, mais les grandes lignes du cadre sont fixées, à savoir la poutre cintrée.

A une époque où l'on fait "ce qu'on peut", ou presque, tous les assembleurs se contentent de tirer des tubes autour d'accessoires standardisés, Paul Josué envisage une partie cycle originale et plutôt élaborée.

 

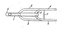
Dès le 15 mars 1946, il dépose quatre demandes de brevet ; pour son cadre, une suspension de selle, une fourche télescopique, et enfin un système de tension de chaine finale par déplacement du moteur. Il serait trop long de livrer les descriptions détaillées de ces brevets, et nous nous limiterons à publier trois des croquis annexés.

 

Du papier à la route ou la concrétisation

 

Protégée par ces brevets la future Gima prend rapidement forme. La fourche télescopique apparait pour la première fois sur une esquisse datée du 6 février 1946. Sur un dessin du 20 juin, toute la partie cycle est définie : cadre, fourche, réservoir et porte-bagages ; le moteur  108 cm3 AMC est adopté et avec lui sa fixation réglable et même son échappement.

 

Le dessin de la fourche télescopique, annexé à la demande de brevet.
Le dessin du cadre breveté.
Le dessin du système de tension de la chaîne.

 

La machine, qui sera présentée seize mois plus tard au salon de Paris, a trouvé sa forme définitive mais même si la fourche télescopique est déjà présente en février, Paul Josué n'en continue pas moins à travailler jusqu'en mai, sur une fourche à parallélogramme. Il travaille également sur une suspension arrière coulissante ; le premier dessin date de la mi-août 1946 et la présentation effective, sur une 175 n'aura lieu qu'au salon d'octobre 1949.

Premier produit commercial de la marque, la 108 à trois vitesses est présentée au salon d'octobre 1947. Jusqu'à preuve du contraire, Gima sera le premier constructeur à proposer une fourche télescopique sur un vélomoteur à vocation utilitaire et, tant qu'à faire, une fourche très efficace et très performante. Elle s'avère rigide, elle est dotée d'un bon débattement et se montrera encore largement suffisante quand Gima adoptera le 250 AMC à ACT ; pour  le modeste 108 culbuté, Paul Josué avait prévu large !

De plus la colonne de direction est montée sur deux gros roulements coniques.

 

Gima et ses concurrents

 

Des tarifs de 1951 permettent d'établir des comparaisons. Les 125 Gima sont vendues 130.000 francs avec l'AMC trois vitesses ou 147.500 francs avec l'AMC quatre vitesses. On peut se demander pourquoi la version 3 vitesses a coexisté avec la boite 4 vitesses bien supérieure en agrément.

 

C'est qu'en 1951, les salaires d'ouvriers qui dépassent 10.000 francs tiennent de la philantropie ! Une vitesse de plus quel luxe ! Ce sont deux mois de salaire.. Certes, cette vitesse supplémentaire s'accompagne d'une pompe à huile, d'une sélection par barillet fraisé, de nouveaux carters, etc. Mais enfin... A titre de comparaison, une DS-Malterre 4 vitesses coûte 150.000 francs. Une Guiller ne vaut que 93.300 francs, mais avec 3 vitesses, une fourche à parallélogramme, pas de suspension arrière et une forme particulière d'ABS ; on ne risque pas de bloquer la roue arrière avec les freins Idéal de 110 mm !

 

Les Peugeot 125 ne coûtent que 78.500 francs en 3 vitesses et 120.000 francs en 4 vitesses ; mais elles consomment  bien plus de carburant et de bougies que le très sobre AMC. Alors, le brevet du magnifique moyeu à roulements coniques est resté dans les tiroirs et la Gima, dès sa sortie, se "contenta" des excelllents freins Chavanet de 130 mm, en lieu et place des tambourins de la concurrence.

 

Paul Josué à gauche et Henri Andraud présentent la première Gima, la 108 qui sera exposée au salon de Paris d'octobre 1947. Le frein avant avec flasque côté gauche, n'est pas le Chavanet de 130 mm mentionné dans le texte. Courtoisie Jean-Pierre Raynaud.
Esquisse de suspension coulissante datant du 17 août 1946.
Gima 175 suspension avant et arrière
Une plaque émaillée d'agence, au bleu hélas défraichi.

 

Que les temps étaient durs en cette fin des années 40 et le début des années 50 ! A coup sûr, plus difficiles que dans les années trente. Ma grand-mère me racontait qu'en 1934 ou 1935, chacune de leurs 100 Motobécane "milieu de gamme" leur avait coûté, à mon grand-père et à elle-même, trois mois de salaire d'ouvriers chez Bergougnan.

 

Si, dans les années quarante et cinquante, la majorité des vélomoteurs est l'apanage de Terrot, Motobécane, Peugeot et Monet-Goyon, de petits constructeurs comme Gima, à priori non compétitifs, auront cependant une honnête diffusion, s'offrant publicité nationale, salons et même, dans le cas de Gima, plaque émaillée d'agence et construction sous licence en Espagne par Rieju. On peut en déduire que la clientèle n'aura pas été insensible aux avancées techniques et à la qualité de fabrication que Paul Josué a inspiré à Gima.

Un prototype de L4S datant de 1956. Cette machine à suspension oscillante, dont le cadre est autrement plus moderne que celui des Peugeot 56 TB et 176 TB, fut cataloguée par Automoto en 1957 et 1958, en 125 comme en 175 cm3

 

Paul Josué chez Automoto

 

Après la mort d'Henri Andraud (dans un accident de la route survenu en son fief de Chamalières, le 27 septembre 1949), Paul Josué ne s'entendit pas avec son successeur, Constant Emmanuelli, et écouta les sirènes d'Automoto (ou de Peugeot..).

 

Il laissa à Saint-Etienne, une jolie moto, la L4S qui fut cataloguée avec un moteur Peugeot, mais qui reçut aussi un AMC. En regardant cette L4S, on constate que Paul Josué n'est pas l'homme d'une seule création reservie sous diverses formes, mais qu'il a dessiné des parties cycles très variées.

 

Datée du 13 octobre 1954, une grossière esquisse d'une 250 (1) à moteur AMC démontre aussi ce qui vient d'être dit : fourche type Earles et carénage généralisé à l'arrière de la motos sont autant de nouveautés dans un dessin de Josué.

 

(1) voire une 350, car une 350 CHL a été mentionnée dans la documentation Automoto, et on sait aussi qu'AMC avait extrapolé une version 280 cm3 de son 250 à ACT.

 

Que penser de ce cyclomoteur datant de 1956 ?

La coque, d'un dessin très pur, est moulée en une seule pièce d'alliage léger et incorpore le réservoir situé sous la selle.

Mais il est absolument impossible de produire un tel cadre à un prix comparable à celui d'une Mobylette bleue, ne nécessitant que des presses à découper et à emboutir, plus un automate de soudure.

Son moteur est décrit par un prospectus Automoto comme une petite merveille, ce qui ne veut pas dire grand chose. Nous ne pouvons rien affirmer sur l'origine de cette mécanique : produit de conception maisson ou réalisation externe à l'entreprise.

Bel engin en tout cas, mais à quel prix ?

 

La pureté du dessin de Josué pour le cadre coque du cyclo Automoto n'est pas discutable. Deux évents (un de chaque côté), un peu en arrière de la colonne de direction, permettent de faire passer les câbles à l'intérieur de la coque.

 

De toute façon, Peugeot avait d'autres projets pour Automoto, et Paul Josué quittera Saint-Etienne pour finir sa carrière aux Ateliers Industriels Aéronautiques installés sur le site de l'aérodrome de Clermont-Ferrand Aulnat.

Il continuera à déposer moult brevets, notamment dans le domaine de l'automobile.

 

Paul Josué est mort en 2005, dans sa ville natale de Thiers, agé de 92 ans. 

 

L'ingénieur avait conçu et dessiné de belles machines.

Robert Pahin teste à Montlhéry le cyclomoteur Automoto à cadre coque (Photo J. Stevens)
Toujours à Montlhéry, tests de la L4S à moteur AMC

 

Etude par Bernard Palacio

 

 

***  GUILLAUMONT

Peu d'informations sur ce constructeur (assembleur) clermontois dont l'atelier était situé avenue Charras. Il utilisait les moteurs auvergnats AMC, positionnés dans des cadres de sa fabrication (?)

Le nombre d'exemplaires produits reste inconnu à ce jour.

 

*** HUIN

Bouton "haut de page" - Haut de la page -